|
| Mit der Handbremse ist es ja so
eine Sache, ich bin noch nie einem Biturbo begegnet beim dem diese, wie
vom Strassenverkehrsamt vorgeschrieben, funktionierte. Falls noch die alte Version montiert ist, so
bringt der Einbau der neuen Version doch etwas mehr Zug auf die
Bremsbacken. Ich habe daher in der nachfolgenden Anleitung das komplette
vorgehen beschrieben um das Fahrzeug auf die neue Version umzurüsten. Am
besten hebt man das Fahrzeug mit einem Lift es geht im Notfall jedoch auch
mit Unterstellböcken. |
|
| Hebel ausbauen: |
| 1. Heben Sie das Fahrzeug an, lösen und
entfernen Sie nun die beiden Muttern am Gestänge zum Hebel (10er
Schlüssel). Bei der neuen Version nehmen Sie zuerst die Feder ab, lösen
und entfernen danach die beiden Muttern (10er und 15er Schlüssel). Senken Sie
nun das Fahrzeug wieder ab. |
 |
| 2. Entnehmen Sie das Ablagefach aus der
Mittelkonsole. Die Arbeit wird zudem etwas erleichtert wenn Sie auch noch
den Deckel des Ablagefachs, durch lösen und entfernen der drei
Kreuzschrauben, abnehmen. |
 |
| 3. Falls der Bremshebel mit 13er Schrauben
befestigt ist, lösen und entfernen Sie die beiden Kreuzschrauben welche
die Mittelkonsole an der Carrosserie befestigen. Dieses Vorgehen
erleichtert das lösen der Schrauben, bei einer Hebelbefestigung mit
Inbusschrauben können Sie diesen Schritt überspringen. |
 |
| 4. Lösen und entfernen Sie nun die beiden
Hebelschrauben, die vordere ist durch den Hebelaustritt erreichbar. |
 |
| 5. Heben Sie nun den Hebel hinten leicht an,
entfernen Sie den Splint um das Gestänge auszuhängen. Bei der neuen
Version entfernen Sie den Sicherungsstift und nehmen danach den Bolzen ab.
Ziehen Sie nun den Stecker vom "Handbremse eingelegt" Schalter ab. Durch
abdrehen der Hebelunterseite in Richtung Beifahrerseite kann dieser danach
nach hinten aus der Konsole gezogen werden. Ziehen Sie nun noch das Gestänge
resp. den Seilzug aus der Oeffnung. |
 |
|
| Nach der Demontage sind
folgende Teile ersichtlich: |
Im Bild rechts sind die Teile der neuen
Version ersichtlich:
Handbremshebel und Gummiüberzug
Bolzen und Sichrungsstift
10er und 15er Mutter
Hebelseilzug mit Gummiabdeckung |
 |
|
| Hebel einbauen: |
| 1. Führen Sie den neuen Hebelseilzug durch
die Oeffnung in der Gummiabdeckung (braucht etwas Geduld um das Loch zu
finden). Führen Sie nun den Hebel in die Mittelkonsole ein, verbinden Sie
den Flachstecker mit dem "Handbremse eingelegt" Schalter. |
 |
| 2. Verbinden Sie den Hebelseilzug mit dem
Hebel. Beachten Sie dabei dass unter Verwendung des alten Gestänges
dieses in Loch "2" eingeführt werden muss. Den neuen Seilzug
müssen Sie jedoch beim Loch "1" einhängen. Drücken Sie beim
Seilzug den Bolzen durch das U-Eisen des Seilzugs und des Hebels, sichern Sie
den Bolzen mit dem Sicherungsstift. |
 |
| 3. Bringen Sie den Hebel wieder in seine
Ausgangsposition, befestigen Sie diesen danach mit den zuvor entfernten
Schrauben. |
 |
| 4. Falls Sie die Befestigungsschrauben der
Mittelkonsole entfernt haben, so schrauben Sie diese jetzt wieder ein. |
 |
| 5. Prüfen Sie ob bei etwas gezogenem
Handbremshebel (ab zweitem Ratschpunkt) die Kontrolleuchten
"brake" und "((P))" aufleuchten. Sollte dies nicht der
Fall sein, prüfen Sie ob der Steckverbinder korrekt am Schalter des
Hebels angebracht ist. |
 |
|
| Handbremse demontieren: |
| 1. Heben Sie das Fahrzeug an, entfernen Sie
danach die Räder (19er Schlüssel). |
 |
| 2. Lösen und entfernen Sie die beiden Bremszangen-Befestigungsschrauben (17er Schlüssel). |
 |
| 3. Ziehen Sie die Bremszange von der
Bremsscheibe ab. Legen Sie die Bremszange auf eine geeignete Unterlage um
Schäden am Hydraulikrohr zu vermeiden. Wenn Sie das Fahrzeug mit
Unterstellböcken angehoben haben, so eignet sich z.B. eine Getränkekiste. |
 |
| 4. Lösen und entfernen Sie die beiden
Inbusschrauben welche die Bremsscheibe an der Nabe befestigen. Ziehen Sie
danach die Bremsscheibe von der Nabe ab. |
 |
| 5. Nehmen Sie die obere und untere Feder,
mit einem Federhaken, von den Bremsbacken ab. |
 |
| 6. Schieben Sie die Bremsbacken an der
Oberseite auseinander, nehmen Sie danach den Einstellkolben von den Backen
ab. |
 |
| 7. Schieben Sie die Bremsbacken an der
Unterseite auseinander, ziehen Sie danach den Spreizmechanismus von den
Backen weg. Achten Sie darauf, dass der Seilzug-Befestigungsbolzen nicht
herunterfällt. |
 |
| 8. Drehen Sie die Befestigungsschrauben der
Bremsbacken um eine viertel Umdrehung, nehmen Sie nun die Schraube mit
Feder und die Bremsbacken ab. |
 |
| 9. Entfernen Sie mögliche Ablagerungen, an
der Bremsbackenauflage, mit einer feinen Drahtbürste. |
 |
|
| Nach der Demontage sind
folgende Teile ersichtlich: |
Zerlegter Einstellkolben
Bremsbacken
Halteschrauben mit deren Federn
Bremsbackenfedern
Spreizmechanismus mit Bolzen |
 |
|
| Seilzug ausbauen: |
| 1. Lösen und entfernen Sie die beiden
Befestigungsschrauben des Seilzugs bei den Bremsen (13er Schlüssel). |
 |
| 2. Entfernen Sie den Distanzblock der
Bremsbacken. Dieser Schritt ist nicht zwingend nötig, es wird so jedoch
verhindert, dass dieser versehentlich herunterfällt. |
 |
| 3. Lösen und entfernen Sie die Schraube der
Kabelschelle welche den Seilzug am hinteren Träger befestigen. Ziehen Sie
danach den Seilzug in Richtung Motor um ihn vom Fahrzeug zu
entfernen. |
 |
|
| Seilzug einbauen: |
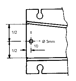
| 1. Um die neue Version des Seilzugs zu
montieren wird eine zusätzliche Bohrung an der vorderen Seileinhängung
benötigt. Im Bild rechts ist die genaue Position dieser Bohrung
ersichtlich. Es ist keine leichte Aufgabe, diese Bohrung bei eingebauter
Auspuffanlage anzubringen, schlagen Sie hierzu mit einem Körner eine
möglichst tiefe Grube ins Blech. Verwenden Sie nun einen möglichst neuen
Bohrer um das Loch anzubringen. Bestreichen Sie danach die Stelle mit
Unterbodenschutzfarbe. |
 |
| 2. Legen Sie den neuen Seilzug über das
Differential und die Antriebswelle. Befestigen Sie die beiden Seile,
mit den zuvor entfernten Kabelschellen, am Träger. |
 |
| 3. Setzen Sie den Distanzblock der
Bremsbacken wieder in seiner ursprünglichen Position ein. Befestigen Sie
nun die beiden Seilzugenden mit den zuvor entfernten Muttern (13er
Schlüssel). Ueberprüfen Sie danach, dass die Ummantelung des Seilzugs
keine beweglichen Teile berührt und nirgends eingeklemmt wird. |
 |
| 4. Setzen Sie die beiden vorderen Ende des
Seilzugs in die Bohrungen an der Carrosserie ein. Das Seil zur linken
Bremse muss dabei in die obere Bohrung eingesetzt werden. Führen Sie
danach den Hebelseilzug in die Bohrung der Seilzugbrücke ein, drehen
Sie nun die 15er Mutter, mit der abgerundeten Seite zur Brücke zeigend,
etwas ein. Fetten Sie die beweglichen Teile der Brücke. |
 |
| 5. Drehen Sie die 10er Mutter auf den
Seilzug ein, ggf. müssen Sie hierzu die 15er Mutter noch etwas mehr
eindrehen. Hängen Sie danach die Feder zwischen dem Seilzug und der
Bohrung an der Carrosserie ein. |
 |
|
| Handbremse zusammenbauen: |
| 1. Befestigen Sie eine der beiden
Bremsbacken indem Sie die Halteschraube mit der Feder einsetzen und diese
danach mit einer viertel Drehung fixieren. Achten Sie darauf dass die
Rundung der Bremsbacken mit jener der Auflage übereinstimmt. |
 |
| 2a. Falls Sie den Einstellkolben zu
Reinigungszwecken zerlegt haben, setzen Sie diesen wieder zusammen. Legen
Sie zuerst die Blattfeder auf den dickeren Teil in die Aussparung ein. |
 |
| 2b. Setzen Sie das Einstellrad, mit der
flachen Seite nach aussen zeigend, ein. |
 |
| 2c. Drehen Sie die Schraube vollständig ins
Einstellrad ein. |
 |
| 3a. Bereiten Sie den Spreizmechanismus wie
folgt vor. Setzen den dickeren Bolzen, mit zwei Rillen, ins kleinere der
beiden Spreizteile ein. |
 |
| 3b. Führen Sie das soeben vorbereitete
kleinere Teil in die dafür vorgesehene Aufnahme des grösseren Teils. |
 |
| 3c. Führen Sie die Oese des Seilzugs ins
kleinere Teil des Spreizmechanismus ein, drücken Sie danach den Bolzen
durch die Bohrungen. Im Bild rechts ist dieser Vorgang leicht ersichtlich.
Durch sparsames bestreichen der beweglichen Teile mit einem Fett mit hoher
Tropftemperatur kann der Zugkraftaufwand der Handbremse etwas reduziert
werden. |
 |
| 4. Führen Sie die zweite Bremsbacke in den
Spreizmechanismus ein, befestigen Sie die Backe wiederum mit einer viertel
Drehung der Schraube. |
 |
| 5. Setzen Sie den Einstellkolben zwischen
die Bremsbacken ein, achten Sie dabei auf die richtige Einbaulage,
nach öffnen der Kunststoffabdeckung am Bremsabdeckblech muss der Zugriff
auf das Einstellrad möglich sein. |
 |
| 6. Hängen Sie die beiden Federn der
Bremsbacken, mit einem Federhaken, wieder ein. Beachten Sie dabei dass die
Feder mit mittiger Verbindung unten montiert wird. Jene mit seitlicher
Verbindung muss so montiert werden, dass sich die Verbindung näher an der
Nabe befindet. Folgen Sie nun der
Anleitung zum einstellen der Bremsbacken weiter unten. |
 |
| 7. Setzen Sie die Bremszangen wieder auf die
Bremsscheibe, befestigen Sie diese mit den zuvor entfernten Schrauben(17er
Schlüssel).
Ziehen Sie die Schrauben mit einem Drehmomentschlüssel mit 6 - 6.5kg/m
(58.8 - 63.7Nm) fest. Bringen Sie das Rad wieder an, ziehen Sie die
Radmuttern mit einem Drehmoment von 8 - 8.5kg/m (74.8 - 83.3Nm) fest. |
 |
|
| Einstellen der
Bremsbacken: |
| Das vorgehen zum einstellen der
Bremsbacken ist auch im Werkstatthandbuch nicht sehr ausführlich
beschrieben. Mit dem nachfolgenden Vorgehen habe ich jedoch gute Resultate
erzielt, dennoch kann ich dafür keine Gewähr bieten. Um die
Bremswirkung auf beiden Seiten genau gleich einzustellen ist ein
Bremsenprüfstand erforderlich, lassen Sie daher nach Arbeiten an der
Handbremse, die Bremsanlage noch in einer Werkstatt prüfen und ggf. genau
nachjustieren. |
| 1. Bauen Sie ggf. Räder, Bremszangen und
Bremsscheibe nach obiger Anleitung vom Fahrzeug ab. Stellen Sie sicher
dass die Handbremse gelöst ist. Drehen Sie nun am Rad des Einstellkolbens
bis die Bremsbacken soweit gespreizt sind dass Sie die Bremsscheibe nicht
mehr aufsetzen können. Drehen Sie das Einstellrad stufenweise in die
Gegenrichtung, probieren Sie dabei immer wieder die Bremsscheibe
aufzusetzen. Sobald Sie die Bremsscheibe ohne schleifen an den Backen
aufsetzen können, befestigen Sie diese mit den Inbusschrauben. |
 |
|
| Einstellen des
Bremshebels: |
1. Drehen Sie die 15er Mutter soweit ein bis
die Räder in der dritten oder vierten Einrastung des Bremshebels
blockieren.
Führen Sie probehalber folgende Kontrolle durch:
- Beim gesenkten Hebel müssen die Räder normal drehbar sein, kein
Schleifgeräusch ist hörbar.
- Beim Hebel in erster Einrastung sollte ein leichtes Schleifgeräusch der
Backen hörbar sein.
- Beim Hebel in zweiter Einrastung dürfen die Räder nur schwer drehbar
sein.
- Beim Hebel in dritter oder vierter Einrastung müssen die Räder
blockieren.
Fixieren Sie nun die 15er Mutter durch festziehen der 10er Mutter. |
 |